一、 目的和意义
建设高压及超高压输变电工程是送变电企业的主营业务之一,尤其是在新建变电站的建设项目中,不可避免地会临时占用土地,遇到与当地土地管理有关的行政审批事项,涉及的当地行政管理事项集中体现在与自然资源管理部门相关的临时用地审批、临时用地复垦、复垦保证金的缴纳、与税务部门相关的耕地占用税的缴纳与退还等。
涉土地管理事项,执法主体主要为各地自然资源局,行政处罚类别多为罚款、补缴、限期拆除等,呈现出处罚力度重、罚款金额大的特点,比如临时用地期满未履行复垦义务的行政罚款,罚款金额至少为土地复垦费的2倍。再如,忻州市规划和自然资源局于2024年1月26日作出的忻规资执土罚﹝2024﹞1号,针对忻州中石油昆仑燃气有限公司非法占用4480.83平方米土地、在临时用地范围内新建建筑物和其他设施形成永久性建筑物的行为,该局作出了罚款人民币203435元的决定,形成永久性建筑物占地的4480.83平方米按土地复垦费8倍计算罚款金额,企业规范临时用地审批及履行复垦义务的重要性可见一斑。
二、 国内外研究水平综述
在体制方面,我国国内实行集中统一的土地管理体制,中央对土地管理进行宏观把控。国外许多发达国家土地管理体制相对分散,美国联邦政府通过制定宏观政策和法律框架,引导土地资源合理配置,州和地方政府在其框架下因地制宜进行管理,充分发挥地方自主性,促进区域特色发展。英国是法规导向型模式,从土地产权界定到开发利用,每一个环节都有严格法律规范,确保土地管理有法可依、规范有序。
规划层次上,国外部分国家规划层次丰富,相比之下,国内土地规划层次在体系构建逻辑上与国外有所不同,更强调自上而下的统筹性与协调性,以保障全国土地资源的合理布局与利用。
规划内容上,国外一些国家注重通过规划引导城市发展、缓解城市压力,国内土地规划内容则更侧重于保障耕地红线、优化城乡用地结构,促进土地资源在各产业间的合理分配,实现经济社会与生态环境的协调发展。
| 国家 |
管理体制 |
土地管理层次 |
土地管理内容重点 |
| 中国 |
集中式 |
全国、省、市、县、乡五级 |
土地用途管制、耕地保护、保障重点建设项目用地 |
| 美国 |
分权式 |
区域级、州级、亚区域级、县级、市级 |
地方特色发展需求、生态环境保护 |
| 英国 |
混合式 |
国家级规划政策指引、区域规划、地方规划 |
公众参与、市场机制作用下的土地合理开发利用 |
国外土地管理政策执行主体多元且分工细致,不同层级政府间通过法律明确权力界限,借助定期会议、信息共享平台等进行协调。国内土地管理政策执行以自然资源部门为主导,协同多部门。自然资源部门负责土地资源调查、规划与监管等核心工作,住建、农业等部门在各自领域配合。通过建立联合工作小组、部门间信息互通机制等进行协调。例如在乡村振兴项目推进中,多部门联合保障土地合理流转与高效利用,促进产业发展。但相比国外成熟的协调体系,国内在跨部门协调时,有时会因职责交叉出现沟通成本高、协调效率低的情况。
国外在用地申请审批方面,效率普遍较高。国内用地申请审批效率近年来不断提高,但与国外相比,整体审批时间仍相对较长。在审批透明度方面,虽然多数地方政府建立了信息公开平台,但在信息更新及时性和完整性上还有提升空间。为提高审批效率和透明度,一些地方推行容缺受理、并联审批等制度,同时加强信息化建设,实现审批信息的实时共享和公开。例如,某沿海城市通过建立审批大数据平台,对审批过程进行全程监控和预警,有效提高了审批效率和透明度。
我国临时用地政策历经了不断发展与完善的过程。早期法规对临时用地的规定相对简略,主要侧重于保障建设项目的顺利进行,对临时用地的使用期限、范围界定等方面的规范不够细致。随着经济社会的发展以及土地资源管理理念的转变,相关政策逐渐丰富和细化。现行政策明确了临时用地的法律依据,如《土地管理法》第五十七条、第八十条以及《土地管理法实施条例》中的相关条款。核心要点包括严格限定临时用地不得修建永久性建筑物和构筑物,使用时间不得超过两年,期满确需继续使用的,应当重新办理临时用地审批。在审批权限上,全部占用非耕地的临时用地由县国土资源局审批;占用耕地(严禁占用基本农田)的由市国土资源局审批。这种变化趋势体现了我国对土地资源精细化管理的追求,旨在平衡建设需求与土地保护之间的关系,确保土地资源合理、高效利用。
与我国相比,国外在临时用地管理上更注重公众参与和信息公开。在申请过程中,会广泛征求周边居民和利益相关方的意见,确保各方权益得到充分保障。此外,国外对临时用地期满后的土地复垦监管十分严格,有专业的评估机构对复垦效果进行验收。这些差异为我国政策完善提供了思路,我国可进一步加强规划引导,提高公众参与度,强化土地复垦监管力度,从而不断优化临时用地政策。
三、 项目的理论和实践依据
关于临时用地,我国已经有相对完善的法律法规供临时用地使用者参照执行,各地自然资源主管部门针对临时用地审批、复垦保证金的缴纳、复垦义务的履行、耕地占用税的缴纳和退还等均有完善的操作流程,相关的法律详规如下:
《土地管理法》第五十七条规定:建设项目施工和地质勘查需要临时使用国有土地或者农民集体所有的土地的,由县级以上人民政府土地行政主管部门批准。其中,在城市规划区内的临时用地,在报批前,应当先经有关城市规划行政主管部门同意。土地使用者应当根据土地权属,与有关土地行政主管部门或者农村集体经济组织、村民委员会签订临时使用土地合同,并按照合同的约定支付临时使用土地补偿费。临时使用土地的使用者应当按照临时使用土地合同约定的用途使用土地,并不得修建永久性建筑物。临时使用土地期限一般不超过二年。
《土地管理法实施条例》第五十二条规定:违反《土地管理法》第五十七条的规定,在临时使用的土地上修建永久性建筑物的,由县级以上人民政府自然资源主管部门责令限期拆除,按占用面积处土地复垦费5倍以上10倍以下的罚款;逾期不拆除的,由作出行政决定的机关依法申请人民法院强制执行。
《土地管理法》第七十七条规定:未经批准或者采取欺骗手段骗取批准,非法占用土地的,由县级以上人民政府自然资源主管部门责令退还非法占用的土地,对违反土地利用总体规划擅自将农用地改为建设用地的,限期拆除在非法占用的土地上新建的建筑物和其他设施,恢复土地原状,对符合土地利用总体规划的,没收在非法占用的土地上新建的建筑物和其他设施,可以并处罚款;对非法占用土地单位的直接负责的主管人员和其他直接责任人员,依法给予处分;构成犯罪的,依法追究刑事责任。超过批准的数量占用土地,多占的土地以非法占用土地论处。
《土地管理法实施条例》第五十七条规定:依照《土地管理法》第七十七条的规定处以罚款的,罚款额为非法占用土地每平方米100元以上1000元以下。
《土地管理法》第八十一条规定:依法收回国有土地使用权当事人拒不交出土地的,临时使用土地期满拒不归还的,或者不按照批准的用途使用国有土地的,由县级以上人民政府自然资源主管部门责令交还土地,处以罚款。
《土地管理法实施条例》第五十九条规定:依照《土地管理法》第八十一条的规定处以罚款的,罚款额为非法占用土地每平方米100元以上500元以下。
关于土地复垦,国务院于2011年3月5 日发布了《土地复垦条例》,规定了土地复垦的标准、验收及相关的法律责任。为保证土地复垦的有效实施,自然资源部根据《土地复垦条例》于2019年7月发布了《土地复垦条例实施办法》,明确了《土地复垦条例》的实施细则,保障土地复垦的有效执行。
另外,《土地管理法》第七十六条规定:违反本法规定,拒不履行土地复垦义务的,由县级以上人民政府自然资源主管部门责令限期改正;逾期不改正的,责令缴纳复垦费,专项用于土地复垦,可以处以罚款。
《土地管理法实施条例》第二十条规定:建设项目施工、地质勘查需要临时使用土地的,应当尽量不占或者少占耕地。临时用地由县级以上人民政府自然资源主管部门批准,期限一般不超过二年;建设周期较长的能源、交通、水利等基础设施建设使用的临时用地,期限不超过四年;法律、行政法规另有规定的除外。土地使用者应当自临时用地期满之日起一年内完成土地复垦,使其达到可供利用状态,其中占用耕地的应当恢复种植条件。
《土地管理法实施条例》第五十六条规定:依照《土地管理法》第七十六条的规定处以罚款的,罚款额为土地复垦费的2倍以上5倍以下。违反本条例规定,临时用地期满之日起一年内未完成复垦或者未恢复种植条件的,由县级以上人民政府自然资源主管部门责令限期改正,依照《土地管理法》第七十六条的规定处罚,并由县级以上人民政府自然资源主管部门会同农业农村主管部门代为完成复垦或者恢复种植条件。
关于耕地占用税,全国人民代表大会常务委员会于2018年12月29日通过并公布了《中华人民共和国耕地占用税法》,该法律自2019年9月1日施行至今,对耕地占用税的缴纳期限、税额、适用情形均有详细规定。
另外,财政部于2019年发布的第81号公告《财政部税务总局自然资源部农业农村部生态环境部关于发布〈中华人民共和国耕地占用税法实施办法〉的公告》也对《中华人民共和国耕地占用税法》在实践中的适用有更具可操作性的详细规定。
基于我国一直以来的土地保护政策,针对非法占用土地的行为,根据违法情节的不同,临时土地占用人所承担的责任也有所不同,轻者行政处罚,重者则可能承担刑事责任。刑法妨害社会管理秩序类犯罪中,非法占用农用地罪即是专门针对这一犯罪行为而设立的罪名。在民事领域,违法占用土地可能面临土地合法使用人的索赔或者要求拆除设施、消除占用行为的民事纠纷。本报告将通过几个典型案例来分别阐述违法占地行为可能面临的刑事犯罪、民事纠纷、行政违法的法律风险。
相关案例:
(1)刑事案例
非法占用农用地罪,是指自然人或者单位违反土地管理法规,非法占用耕地、林地等农用地,改变被占用土地用途,数量较大,造成耕地、林地等农用地大量毁坏的行为。根据《中华人民共和国刑法》第342条与第346条的规定,犯本罪的,处5年以下有期徒刑或者拘役,并处或者单处罚金。单位犯本罪的,对单位判处罚金,并对其直接负责的主管人员和其他直接责任人员,依照上述规定处罚。
邵某、广东省输变电工程公司220KV森林送电线路工程项目经理部非法占用农用地罪:本案例的审判要点,非法占用农用地罪的认定和量刑受到以下几个因素的影响:涉案土地的性质、被占用土地的毁坏程度、行为人主观上的故意以及是否在事后积极主动履行了复垦义务并将对土地的破坏性影响尽可能降低。根据立法解释,“违反土地管理法规”,是指违反土地管理法、森林法、草原法等法律以及有关行政法规中关于土地管理的规定。根据最高人民法院2000年6月19日《关于审理破坏土地资源刑事案件具体应用法律若干问题的解释》,非法占用农用地“数量较大”,是指非法占用基本农田5亩以上或者非法占用基本农田以外的其他农用地10亩以上;造成农用地“大量毁坏”,是指行为人非法占用农用地建窑、建坟、建房、挖沙、采石、采矿、取土、堆放固体废弃物或者进行其他非农业建设,造成基本农田5亩以上或者基本农田以外的农用地10亩以上种植条件严重毁坏或者严重污染。
(2)民事案例
与送变电工程施工涉土地使用事项相关的民事案件一般为物权领域内的排除妨碍纠纷。送变电工程公司一般作为案件的被告或者与电力公司一起作为案件的共同被告,原告多为施工过程中被占用土地的自然人或者单位,诉讼请求表现为:请求送变电工程公司停止侵权行为,拆除相关电力设施,以排除对其合法使用土地的妨害。
姜宗亮、姜宗刚与被告山东送变电工程有限公司排除妨害纠纷:本案例的审判要点,该类案件的关键在于送变电企业在架设相关电力设施之前是否按照正规审批流程完成了其所占用的土地的审批手续,是否按照相关地方标准或者协议约定履行了被占用土地的青苗补偿款、占地款的赔偿义务。如果审批手续完备合法,也已经按照当地相关规定履行了因占用土地对土地所有人、使用人所造成的损失的赔偿义务,则可以免除相应的民事责任,避免后续索赔的发生。
(3)行政违法案例
①江西省交通工程集团有限公司违法占地案
②三亚大小洞天发展有限公司不履行土地复垦义务案
③嘉兴市经开城南正宏建筑工程队擅自占用城市绿地案
(下篇)
项目研究内容和实施方案
综合前述案例,临时用地使用人依法申请、依法使用临时用地的重要性不言而喻,以下就临时用地审批、复垦保证金、耕地占用税三个土地管理重点问题在实践中的难点及解决方案逐一说明。
一、临时用地审批
(一)概述(特点)
临时用地,是指建设项目施工、地质勘查等临时使用,不修建永久性建(构)筑物,使用后可恢复的土地(通过复垦可恢复原地类或者达到可供利用状态)。临时用地具有临时性和可恢复性等特点,与建设项目施工、地质勘查等无关的用地,使用后无法恢复到原地类或者复垦达不到可供利用状态的用地,不得使用临时用地。临时用地使用期限一般不超过两年。县(市)自然资源主管部门负责临时用地审批,其中涉及占用耕地和永久基本农田的,由市级或者市级以上自然资源主管部门负责审批。
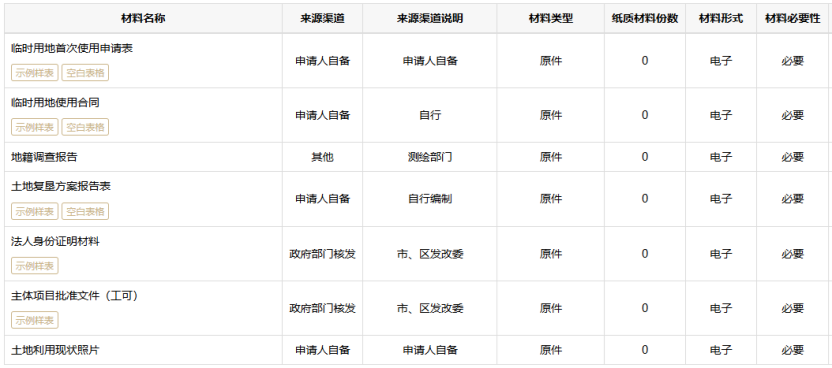
以上海市临时用地审批流程为例,临时用地申请官方网站:上海一网通办,网址:https://zwdt.sh.gov.cn/govPortals/bsfw/item/b14f8a69-e33d-4849-a8d7-8153ecb46800,以下图表是浦东新区规划和自然资源局审批相关事项截图:
具体申请材料包括:
如果不确定当地的政务服务网名称及网址,可拨打当地政务服务热线12345电话咨询,获取详细信息。
(二)形成原因分析
近年来,关于临时用地审批的行政违法事项多数表现为:
(1)未经批准或者采取欺骗手段骗取批准,非法占用土地;
(2)超过批准数量,非法占用土地;
(3)不按照批准的用途使用土地;
(4)在临时用地上修建永久性建(构)筑物;
(5)临时用地期满拒不归还。
究其根本,上述行政违法行为的产生还是在于临时用地主体未按照当地自然资源管理部门的要求做到“依要求审批、依批准使用、依期限归还”,特别是依批准使用的问题,在实际建设项目施工中,临时用地主体无法做到对项目现场的实时监督和有效管理,乱占乱用的现象比较普遍。
(三)解决对策
为避免上述行政违法行为给企业带来重大损失,临时用地主体应当重视当地对于临时用地的具体规定,尤其是事先熟悉各省自然资源行政处罚裁量基准(土地类),避免未批先占、少批多占,具体可以从以下几点着手:
(1)前期对于项目建设的背景、必要性、规划依据和所在区域的功能定位做充分的背景调查,对建设项目用地总规模、用地性质、建设规模以及临时用地地块的功能布局等详细内容有充分的了解和规划,留足项目所需的临时用地空间,避免后期临时用地规模不够而乱占乱用或者再行补申请;
(2)建设项目立项后,涉及临时用地补偿的,积极主动与临时用地原使用权人就补偿标准、补偿金额、支付方案等进行沟通,最大限度扫清临时用地申请障碍;
(3)及时咨询当地自然资源管理部门,就如何办理临时用地审批、需要哪些申请材料以及办理时限等问题充分了解,做足准备,依要求办理审批,争取一次性递交临时用地审批所需全部申请材料;
(4)获得批准文件之后,核实批准范围、土地批准使用用途及使用期限是否满足当前建设项目需求。如果不满足要求,及时修正或者补申请,避免因临时用地不够造成项目不得已停工、工期滞后等严重后果;
(5)在后期建设项目使用临时用地过程中,依批准内容使用。在对建设项目现场的管理上,严禁超范围乱搭乱建,严禁在临时用地上修建永久性建(构)筑物。对项目现场超出临时用地性质和范围乱搭乱建的行为有效监管、及时纠正,避免因行政机关例行或者突击检查可能导致的行政处罚;
(6)临时用地期满,及时恢复并归还土地。对临时用地期满日,用地人应该牢记,并提前做好退场预案以及土地复垦方案。如果因项目建设实际情况切实需要延长临时用地时间的,应及时报告并递交申请材料。
二、临时用地复垦
(一)概述(特点)
复垦保证金,是建设项目的施工单位在施工过程中存在挖损、压占等行为,有可能造成土地破坏时向土地行政主管部门预先缴纳的相当于土地复垦费的费用,防止土地使用单位在项目竣工后不履行土地复垦义务而设定的。
《关于加强临时用地监管有关工作的通知》(自然资办函〔2023〕1280号)提出:在确保临时用地土地复垦落实的前提下,地方可以探索使用银行保函预存土地复垦费用,减轻企业资金压力。目前不少城市已经能接纳以银行保函形式预存土地复垦费用,具体可在办理临时用地审批时咨询当地自然资源管理部门。
土地复垦方案的编制、土地复垦保证金的缴纳标准以及缴纳方式存在比较大的地域性。重中之重是编制合规的土地复垦方案,报自然资源管理部门审批认可,作为后续缴纳复垦保证金、履行复垦义务的重要依据。
(二)形成原因分析
在关于临时用地复垦的行政执法中,各地的处罚力度都是比较大的。总结下来,主要的行政违法行为集中在以下三个方面:
(1)未按期缴存土地复垦保证金;
(2)未足额缴存土地复垦保证金;
(3)占用临时用地期满拒不履行土地复垦义务。
(三)解决对策
鉴于建设项目土地复垦保证金金额大,而针对土地复垦的行政处罚的罚款金额又多以土地复垦费为基数加倍的特点,临时用地使用单位在面对土地复垦这个问题上一定要给予足够的重视,做到:
(1)依据自然资源部《土地复垦方案编制规程》的要求,组织编制土地复垦方案,随有关报批材料报送审查。土地复垦方案应当合理合规,兼顾效率和经济,具备确实的可执行性。土地复垦方案是计算土地复垦费用的重要依据;
(2)与损毁土地所在地县级自然资源主管部门在双方约定的银行建立土地复垦费用专门账户,按照土地复垦方案确定的资金数额,在土地复垦费用专门账户中足额预存土地复垦费用;
(3)预存的土地复垦费用遵循“土地复垦义务人所有,自然资源主管部门监管,专户储存专款使用”的原则,同时与所在地的市、县级自然资源主管部门、银行共同签订土地复垦费用使用监管协议,明确土地复垦费用预存和使用的时间、数额、程序、条件和违约责任等,明确支取土地复垦费用和解除土地复垦费用专门账户使用监管的情形,做好土地复垦费专款、专户的监管工作。
(4)在临时用地使用期满之日起1年内按照土地复垦方案确定的复垦方向、复垦措施、技术标准实施土地复垦,恢复原地类或者达到可供利用状态。临时使用耕地和永久基本农田的,恢复原种植条件,确保耕地面积不减少、质量不降低;在生态保护红线内选址的,复垦时确保生态功能不降低、面积不减少。
(5)依据《土地复垦条例实施办法》第十七条、第二十二条的规定,于每年12月31日前向所在地县级自然资源主管部门报告当年土地复垦义务履行情况,包括下列内容:年度土地损毁情况,包括土地损毁方式、地类、位置、权属、面积、程度等;年度土地复垦费用预存、使用和管理等情况;年度土地复垦实施情况,包括复垦地类、位置、面积、权属、主要复垦措施、工程量等;自然资源主管部门规定的其他年度报告内容。
(6)完成土地复垦任务后,及时组织自查,自查之后及时向项目所在地自然资源主管部门提出验收的书面申请。
三、耕地占用税
(一)概述(特点)
耕地占用税,是占用耕地(用于种植农作物的土地)建设建筑物、构筑物或者从事非农业建设的单位和个人应当缴纳征收的一个税种,由税务机关负责征收。其计算公式为:应纳税额=实际占用耕地面积(平方米)×适用定额税率。税率根据地区、用途和占用面积等因素而有所不同,具体标准由当地税务部门规定。
耕地占用税其征税范围包括纳税人为建房或从事其他非农业建设而占用的国家所有和集体所有的耕地。负有缴纳耕地占用税义务的单位和个人,包括在我国境内占用耕地建房或者从事其他非农业建设的单位和个人,如企业、行政单位、事业单位,乡镇集体企业、事业单位,以及农村居民和其他公民。
企业在处理耕地占用税时,应遵循会计准则和税法规定,并根据具体情况选择相应的会计科目进行核算。若税计入固定资产价值,则通常通过“在建工程”科目进行核算,会计分录为:借:在建工程,贷:应交税费——应交耕地占用税;若税不计入固定资产价值,则可能通过“管理费用”或“税金及附加”科目进行核算,会计分录为:借:管理费用(或税金及附加),贷:应交税费——应交耕地占用税。无论耕地占用税是否计入固定资产价值,缴纳时的会计分录均相同,即:借:应交税费——应交耕地占用税,贷:银行存款。
耕地占用税不能随意转化为公用事业费。耕地占用税的会计处理会对企业的财务报表产生一系列影响。因此,在编制财务报表时,企业必须准确记录耕地占用税的计提、缴纳和结转情况,确保报表数据的真实性和准确性。
值得注意的是,临时占用耕地,也须缴纳耕地占用税。纳税人如果在规定期限内依法复垦,恢复种植条件,可以申请退还耕地占用税。
(二)形成原因分析
涉耕地占用税的行政违法事项主要是企业未及时、足额缴纳耕地占用税。
在具体实践中,一些企业财税人员由于对耕地占用税政策了解不深,引发涉税风险。根据《耕地占用税法》第十二条及《财政部税务总局自然资源部农业农村部生态环境部关于发布〈中华人民共和国耕地占用税法实施办法〉的公告》(财政部公告2019年第81号,以下简称81号公告)第十九条规定,有两种情形应缴纳耕地占用税:第一种是占用园地、林地、草地、农田水利用地、养殖水面、渔业水域滩涂以及其他农用地,以建设建筑物、构筑物或者从事非农业建设;第二种是因挖损、采矿塌陷、压占、污染等损毁耕地。只要属于上述规定的情形,纳税人就必须缴纳耕地占用税,与是否属于临时占用没有关系。一旦临时占用状态解除,纳税人可以申请退税。
税务部门对于未缴、少缴耕地占用税的行为,除了责令限期补缴之外,还会处以不缴或者少缴的税款百分之五十以上五倍以下的罚款;构成犯罪的,依法追究刑事责任。
(三)解决对策
企业应当重视与临时用地相关的税款缴纳事项,在获得临时用地审批文件之后,结合文件确认纳税所属期以及缴税金额,及时足额缴纳税款。在自然资源主管部门批准临时占用耕地期满之日起,1年内依法复垦,恢复种植条件,通过自然资源主管部门会同有关行业管理部门认定并获得其出具的验收合格确认书后,可以申请全额退还已经缴纳的耕地占用税。
要想全额退还已缴纳的耕地占用税,需要重点关注以下几点:
(1)临时用地行为合法合规,无乱占乱用行为,无修建永久性建筑物。
(2)经批准占用耕地的,耕地占用税的纳税义务发生时间,为纳税人收到自然资源主管部门办理占用耕地手续的书面通知的当日。纳税人应当自纳税义务发生之日起30日内,在耕地所在地申报缴纳耕地占用税。这一点很重要,如果因纳税人原因逾期申报缴纳产生滞纳金,即使符合了法定的复垦退税条件,也只能退缴纳的税款,不能退滞纳金。
(3)复垦的认定。临时用地结束后,在临时用地期满之日起1年内依法复垦,恢复种植条件,及时主动申请自然资源主管部门会同有关行业管理部门认定并出具复垦验收合格确认书。
耕地占用税虽然是一个小税种,计算也比较简单,但如果忽视细节规定,很容易产生涉税风险。企业在生产经营活动中,应当严守耕地保护红线,依法用地,保护耕地。
四、耕地占用税退税
纳税人因建设项目施工或者地质勘查临时占用耕地,应当依照税法的规定缴纳耕地占用税。纳税人在批准临时占用耕地期满之日起1年内依法复垦,恢复种植条件的,全额退还已经缴纳的耕地占用税。
因挖损、采矿塌陷、压占、污染等损毁耕地属于税法所称的非农业建设,应依照税法规定缴纳耕地占用税;自然资源、农业农村等相关部门认定损毁耕地之日起3年内依法复垦或修复,恢复种植条件的,比照上述规定办理退税。
(一)退税申请材料
耕地占用税退税的受理部门是耕地所在地的主管税务机关,退税申请材料有:
| 材料名称 |
详细说明 |
| 《退(抵)税申请表》 |
需准确填写纳税人基本信息、退税申请理由、退税金额等内容,确保信息真实、完整。 |
| 临时占用耕地批准文书 |
由自然资源主管部门制发,上面明确标注了临时占用耕地的相关信息,包括用地期限、位置等。 |
| 复垦验收合格确认书 |
由自然资源主管部门会同有关行业管理部门出具,证明耕地已恢复种植条件并验收合格。 |
| 原完税凭证 |
能够证明纳税人已经缴纳过耕地占用税的凭证,作为退税的重要依据。 |
| 身份证明材料 |
纳税人的有效身份证件,如身份证、营业执照副本等,用于确认纳税人身份。 |
| 其他补充材料 |
根据具体退税情形,税务机关可能要求提供的其他相关材料,如项目建设文件、复垦方案等。 |
(二)退税申请流程详解
首先,纳税人应向耕地所在地主管税务机关提出退税申请。这是因为耕地占用税的征收管理是由耕地所在地的税务机关负责。
申请方式上,纳税人既可以选择前往税务机关办税服务厅,以线下纸质申报的方式提交退税申请材料;也可以通过电子税务局等线上渠道,按照系统提示进行操作,上传相关电子申请材料。
线下申请时,纳税人需将准备齐全的申请材料提交给办税服务厅工作人员,工作人员会对材料的完整性和规范性进行初步审核,如发现材料有缺失或填写不规范,会当场告知纳税人进行补充或更正。
线上申请则更为便捷,纳税人登录电子税务局后,进入相应的退税申请模块,按照系统指引逐步录入信息、上传材料。提交成功后,可随时通过系统查询申请进度。无论选择哪种方式,纳税人都要确保申请材料准确无误且符合要求,以保障退税申请能够顺利受理。
(三)审核与退税发放
税务部门在收到退税申请后,会进行严格审核。审核要点主要包括申请材料的真实性、完整性和合法性。核实临时占用耕地批准文书、复垦验收合格确认书等材料的真实性,确保其来源合法有效;检查《退(抵)税申请表》填写是否规范,退税金额计算是否准确;审查纳税人是否符合退税条件,比如是否在规定期限内完成复垦等。
审核通过后,税务部门会按照规定进行退税发放。退税发放方式一般为直接退至纳税人在申请时提供的银行账户。对于资料齐全、审核无误的退税申请,通常会在一定时间内完成退税发放,一般情况下会在10 - 30个工作日内将税款退还至纳税人账户,具体时间可能因地区和实际情况有所差异。纳税人可关注银行账户动态,及时确认退税是否到账。
企业收到退税款后,应在财务账簿中进行相应的记账处理。通常,这涉及银行存款的增加和应交税费的减少。会计分录为:
借:银行存款(实际收到的退税金额)
贷:应交税费-耕地占用税(退税对应的税额)
相关法规
《中华人民共和国土地管理法》
《中华人民共和国土地管理法实施条例》





沪公网安备 31010402007129号